משמש לחיבור 2 צינורות בזווית של 90°.
מק"ט: 125
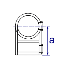
נתונים ומידות
"A = 0.75" | C = 1.25" | D = 1.5
מידות
A27
B34
C42
D48
E60
A מ"מ
41
46
60
68
84
B מ"מ
C מ"מ
D מ"מ
משקל בק"ג
0.25
0.38
0.63
0.74
1.23
יח' בקופסה
108
80
40
30
15
משמש לחיבור 2 צינורות בזווית של 90°.
מק"ט: 125
מידות
A27
B34
C42
D48
E60
A מ"מ
41
46
60
68
84
B מ"מ
C מ"מ
D מ"מ
משקל בק"ג
0.25
0.38
0.63
0.74
1.23
יח' בקופסה
108
80
40
30
15
